まるで鳥の巣、Amazonのドローン配送用高層物流センター
ITmedia「Amazonのドローン配送用高層物流センターの特許出願文書が公開」
http://www.itmedia.co.jp/news/articles/1706/25/news017.html
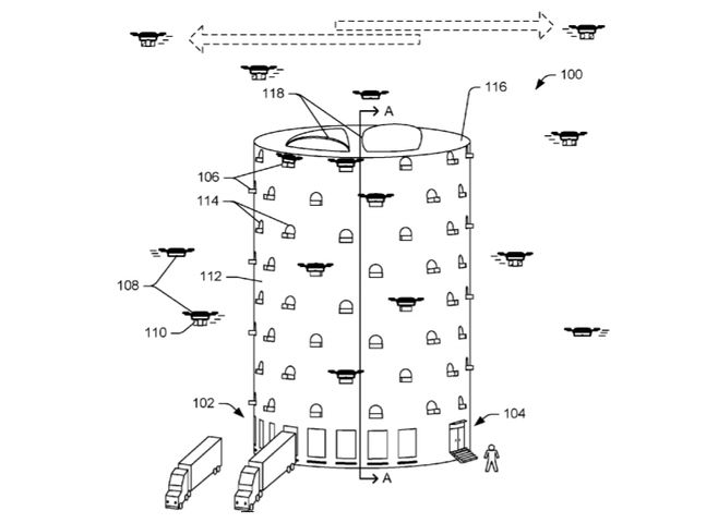
…物流センターは一般に、大量の貨物をストックし、トラックなどで運送するために平屋で広大なスペースが必要で、その結果町中に開設するのは難しい。無人航空機(ドローン)での配送を前提とすれば、狭い土地での高層物流センターが可能だとAmazonは説明する。
…トラックなどで高層物流センターに集められた商品はロボットや人がパッケージングして各階のポートに運び、これをドローンが顧客の元まで配送する。
→このドローンには記録用のカメラが搭載されるんでしょうね。
→ヒッチコックの「鳥」を思い出してしまいました。
8 件のコメント
コメントするには、ログインまたはメンバー登録(無料)が必要です。




ドローンは蜂に由来するのだから、鳥の巣というよりは、蜂の巣という方が正しい気がします。笑そのうち、ドローン基地はハイヴという呼称になったりして。
*自分は記事の絵をみたとき、銀河鉄道999のターミナル惑星がこんな形してなかったっけ?と思ったのだけど、それらしい画像が見つからなかったので、気のせいかも。

>鳥の巣というよりは、蜂の巣という方が正しい気が…う〜〜む見事な攻撃だ、トッチンマン!!
返す言葉が見つからない!!😱
空から荷物が落下する事故が起こらないかが心配です。
近い将来、外出時はヘルメットが必須になる世の中にならないとよいのですが…。(滝汗)
落下の心配もあってか、海岸沿いの千葉の一部地域で実験したりしてますね。
千葉や都心部、横浜とかの湾岸地域は河川もあるので、そういう地理を生かすと、空の運河みたいな流通が構築できそうですよね!
日本は下水の普及率たかいし、最近は地下のガス管とかいろいろシステム化・一元化してるみたいだし。